
Getty
Living room with a Sony PlayStation 5 home video game console and DualSense controller alongside a television, taken on Novemebr 3, 2020. (Photo by Phil Barker/Future Publishing via Getty Images via Getty Images)

Getty
Living room with a Sony PlayStation 5 home video game console and DualSense controller alongside a television, taken on Novemebr 3, 2020. (Photo by Phil Barker/Future Publishing via Getty Images via Getty Images)
While the latest generation of consoles from Sony have been amazing, to say the least, there are still fans who love to go to older hardware whatsoever. They don’t care about what new titles are releasing for the next gen models. They just want to stick to retro games that they liked a lot on consoles like the PS1 or PS3.
Watch What’s Trending Now!
It seems like Sony is also aware of this fact and might be working on something to bring back older hardware or components, but in a different manner. A new patent from the company has revealed that it might be looking for a way to make the past generation of its devices compatible with the latest PlayStation 5 console.
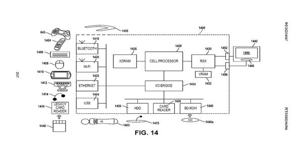
Sony’s latest patent reveals efforts to possibly make PS3 peripherals compatible with PlayStation 5
As reported by VGC, the PS maker recently filed a patent and it shows old hardware from the company being used with the PlayStation 5 through emulation. The devices in the patent were old media remotes, DualShock controllers, and even a handheld console, with the latter, possibly being the old PSP Go.

As you can see in the image shared above, there’s a Sony DualShock, a media Remote, a possible PlayStation mouse, an EyeToy, a PS Move wand, and a memory card. Interestingly, Sony hasn’t utilized these components much in the last few years, except for the PS Move wand, as it’s still used in the first generation of PSVR.
READ MORE: What Does a ‘Single-Use Restricted’ PlayStation Mean? How Can Fans Acquire It?
Now what’s crucial to notice about this patent is that most of the peripherals appearing in this are from the PS3 era. This implies that Sony might be working on emulating the older system on the newest hardware, that is, the PlayStation 5. But it’s just a speculation as the company may simply be trying to emulate the functionality of the items.

Meanwhile, the revamped PlayStation Plus service from Sony is now available worldwide. It offers a variety of titles under different tiers, requiring the fans to pay accordingly to receive extra perks and exclusivity of certain games.
The service also offers retro titles from the PS1, PS2, and PS Portable via emulation. However, PS3 games are still hard to emulate and thus, are offered with the help of streaming.
What are your thoughts on the latest patent by Sony? Let us know in the comments.
WATCH THIS STORY: The Best Horror Games Of All Time On PC, Xbox, and PlayStation
Written by
Edited by
Jito Tenson
