

Is Sony planning to bring the next big revolution in gaming? The recent reports suggest the PlayStation parent has already made the first big step in its pursuit! Moreover, this forthcoming feature might completely change the way players access video games today. Sony is notorious for filing patents that may or may not see the light of day. For instance, there was the patent filed where the controller would change temperature to emulate in-game moments. Another was games automatically adjusting difficulty. If the latest patent rumour is true and indeed sees the light of day, it could permanently change the way games are downloaded.
Watch What’s Trending Now!
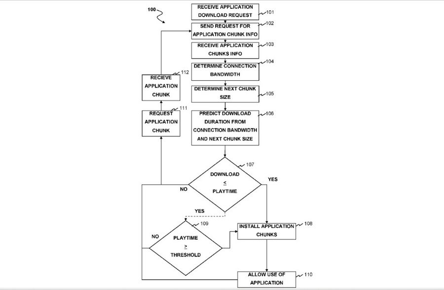
Going by the rumoured Sony patent, PlayStation could do away with preloading and starting a game after a certain download percentage while the rest of the game continues to install.
Sony patents a smarter download mechanism to reduce the ‘start time’ of games
Sony Interactive Entertainment recently released a patent titled, “ACCELERATED APPLICATION START USING ESTIMATED PLAY DURATION.” The mentioned patent was reportedly filed in August and only went into publishing last week. As the title suggests, this patented technology would help the players access a game while it’s being downloaded. But isn’t that already possible? So how does this patent make it better?

“A method for accelerating the start time of an application is described herein, comprising receiving application chunk information from a user, wherein playtime information is associated with the application chunk information, wherein the application chunk is a discrete portion of the application and the playtime information is an estimated time for one or more similar users to reach a chosen state or landmark in the application,” the statement from the Public Patent Research reads.
The new rumoured patent has understandably sparked a lot of curiosity among the community. This tech aims to adapt mechanics that would prioritize story chunks and segments. It would help the software analyze downloading sequences better. This way players will start the game despite it being under download. However, it’s already possible. While downloading games, once a certain percentage is downloaded, players can start the game while the installation continues. But the problem arises; what if the player is getting through soon and the download is slow? And because of this, the player hits a stonewall?
This is where the patent comes in. If the estimated time required for download is less than the playtime in that particular sequence, then players won’t hit a roadblock, allowing them to play before fully downlo
Now, if all these features are implemented, Playstation owners could be enjoying a game at the earliest with the sequencing. In the times when video games generally target 80-100 GB of space, this move could certainly change the dynamics of mainstream gaming culture. Moreover, it could also appeal to a lot of cross-gen users to explore this Sony-exclusive feature.
Read More: Capcom’s REX Engine: The Next Big Evolution in Gaming Technology
It is important to note that Sony Interactive Entertainment has just released this tech as a patent. Hence, it doesn’t confirm its implementation or development yet. It remains to be seen if Sony prioritizes this patent, considering there have been patents before which player never heard about again.
You can read the full released document from the link.
Let us know your thoughts in the chat box below.
Watch this story: With Final Fantasy Rebirth Announced, Another Rumor Takes The Centerstage
Written by
Edited by

Rohan Karnad
